Sholtz 11W не спас корпус из керамики
Замигала и погасла уникальная разработка от Sholtz за 370 рублей .


В эксплуатации с 23 сентября 2020 года .

В рассеивателе появилась желтая точка , похоже светодиодам конец


И что же внутри ?

Ваши предложения , что делать дальше ?

Комментарии
88
@Андрей-Туманенко сказал :
Это просто ФИАСКО! Других слов нет!
Исследовать драйвер.
Исследовать, в каком режиме работали диоды и при какой температуре.
Отремонтировать лампу (припаять, новые диоды, ведь их там немного).
@Схемотехник отработала один год и три месяца ...
@Андрей-Туманенко сказал :
Вообще, как это так... Раньше @ALEXLED постоянно создавал темы со сгоревшими лампочками! Но у него они, реально, были дешевыми... А у вас то? это же почти элитные лампочки? Ранее @ALEXLED сформулировал такой термин как - "недодиоды"... Вот теперь и мне стало понятно...
@Схемотехник гарантия на элитную лампу 5 лет . Однако !
А говорят на ламптесте смотреть надо кококо брать соответствующие параметрам кококо.... а где гарантия, что лампа с идеальными характеристиками прослужит хотя бы год???
Судя по прожарке светодиодов, лампе было нелегко работать, это же даже хуже чем моя philips 8w за 49 рублей:) она то мне полтора года прослужила с копейками, а остальные 6 ламп philips 8w из другой партии живы по сей день, хмм🤔 может и тут так, одна партия - хорошая, другая - плохая, а цена все та же...
Мое предложение - закоротить сгоревший светодиод и провести эксперимент, через сколько времени лампа снова погаснет, а также замерить температуру на плате с диодами и корпусе.
@ALEXLED я за это уникальное чудо отдал 233 рубля. Как Вам цена ?
@Схемотехник в общем у меня остались только те лампы, которые пока что не перегорают, однако... реально не перегорают долгое время и это - филаментные лампы smartbuy 8w и обычные сд лампы philips 8w. Также несколько других китайских пока что не сгорало, хм. А так я перехожу на КЛЛ и замечаю, что у КЛЛ выше качество света и КЛЛ не являются лампами - лотереей...
@Андрей-Туманенко цена тоже уникальная, на эти деньги можно купить 4 такие лампочки только более китайские, они однако прослужат даже может больше... ну хорошо, если даже они будут работать по полгода, то получается их за эти же деньги хватит на дольше... Я КЛЛ когда то покупал за такие деньги, в середине-конце нулевых:) Однако КЛЛ работали по 5-7 лет в отличии от недодиодов😁
@ALEXLED если по гарантии не обменяют , то закорочу светодиод и предоставлю фотоотчет
@Андрей-Туманенко ок, хорошо:)
ALEXLED
А как должен был помочь корпус из керамики? Не совсем понял. И почему выбрали именно данную лампу?
@vrms Ну наверно так же как в керамических резисторах, COB модулях на керамике или как в филаментной лампе .
@Схемотехник ток в цепи светодиодов 81,5 мА
тускло светит кое как
@Андрей-Туманенко А что вам в гарантии ответили? Не ну 400р за такой хлам это скам и развод на бабки. Еще и флаг нарисовали Германия типо. Не верю что такое в Германии исполнить могли.
@vrms пока еще ничего не ответили . У них 7 дней на ответ
@vrms сказал :
Понятно, что при такой избыточной мощности, никак не поможет...
@Андрей-Туманенко сказал :
А диоды на 9 Вольт?
Да тут дело не в качестве диодов и всего остального. Просто слишком много ватт они загнали в такой маленький корпус...
@Схемотехник да , трехкристальные на 9 Вольт. Но корпус поэффективнее , чем в Camelion
@Андрей-Туманенко сказал :
Да, но тем не менее, как мы увидели, все бесполезно...
@Схемотехник Филаментные лампы с 4 нитями живут подольше в корпусах такого размера. А вот с 6 нитями на 1-1,5 года хватает и начинает мигать . Вот почему я не понимаю мощные COB модули . Их охлаждать эффективно просто нереально
@Андрей-Туманенко сказал :
Почему 6 нитей работает меньше, чем 4-е - хороший вопрос...
Может быть в филаментах все-таки более эффективные диоды? меньше греются и больше люмен. А у COB изначально алюминиевая подложка, которая предполагает наличие отвода тепла... Видимо, самые "крутые" диоды именно в филаментах...
@Схемотехник сказал :
В стеклянных прозрачных грушах - филаментах очень часто плохой драйвер. Нормальный драйвер внутри e27 цоколя помещается редко. А внутри Е14 и подавно. Да и провал света внизу прямо под колбой "убивает" полезность многих наших старых световых приборов , если ставить в них такие филаменты.
@Светотехника Uniel Е27 покупал , драйвер импульсный в ней
@Схемотехник схема лампы General Electric на 120 Вольт . Обратите внимание на толщину диодной платы и она еще приклепана к дополнительной пластине и все это в корпусе композит . И светодиоды не 2835 , а какие то квадратные .
https://youtu.be/8dMTLslTa2s
@Андрей-Туманенко сказал :
Ролик не смотрел. Автор почему-то обозначил дросселя, конденсаторы и диоды - как обычные прямоугольники... Видимо, по-незнанию... Диоды очень интересные. Наверное более высокого качества, чем мы привыкли к диодам в корпусе 2835. @Андрей-Туманенко по поводу клепок, креплений и прочее - обратите внимание на форму лампочки. Может быть она предназначена для какого-то специального светильника?
@Схемотехник такие на Алике видел под другим брендом
https://cloud.video.taobao.com/play/u/2212269974117/p/1/e/6/t/10301/329576807767.mp4%60
@Схемотехник Он там в конце видео показывает как выглядит новый такой-же драйвер и как поработавший. Как думаете сколько грелся поработавший?
Кстати для американца, в американской лампе, и то без азиатов не обошлось
@vrms сказал :
да, увидел. А ведь драйвер выполнен на базе гетинакса... Так что тоже экономят... Похоже эта лампа - это маленькая печка)))
Лампа как лампа... Только форма необычная... И диоды непростые... А то что железки толстые - это не спасает от перегрева. Ведь наибольшее тепловое сопротивление - между корпусом и внешней средой. Также неизвестно в каких условиях она работала. Может в чем-то закрытом?
@vrms хорошо грелся , но это и логично. Чем ниже напряжения, тем выше токи и нагрев . На светодиоды 44,8 Вольта вроде подается
@Схемотехник Он не показал где она работала, а так да лампа реально печка, вокруг колба куда отводится тепло. С другой стороны какая лампа не печка, если только такая.
В целом думается не плохая лампа от генерального электрика и цена вполне приемлема около 250-300р на амазоне.
@Андрей-Туманенко сказал :
да самые распространенные сейчас, где и дроссель и микросхема и кондер вместе с диодами на одной плате распаяны тоже не слабо греются, там под сотню градусов при токе 100 мА, напряжение 130 вольт на светодиодах. Просто плата не темнеет так сильно.
Схемотехник 1.Диодная плата от Sweko в корпусе композит от Polaroid . Корпус нагрелся до 73,5 град . С
Температура диодной платы 76,9 град. С (разница температур 3,4 град. С)
2.Диодная плата от Sweko в корпусе композит от Feron . Корпус нагрелся до 70,5 град . С
Температура диодной платы 78 град. С (разница температур 7,5 град. С)
3.Диодная плата от Sweko в "родном" корпусе . Корпус нагрелся до 58,8 град . С
Температура диодной платы 88,1 град. С (разница температур 29,3 град. С)
@Андрей-Туманенко Как-то грустно выглядит родной корпус...
Нашел интересный обзор мощной лампочки от коллеги @Светотехника, в котором полный разбор и анализ работы драйвера, на базе разработанной принципиальной электрической схемы. Только в обзоре он "опасно" проверяет лампочку. А там норм... https://www.youtube.com/watch?v=aw_5DesTuSY
@Андрей-Туманенко сказал :
А на самой плате сколько не проверяли? Самое то между диодов датчик поставить (так чтоб не закоротило).
@vrms в родном корпусе температура диодной платы была 88,1 град. С https://domorost.ru/topic/4088/sweko-12-w-%D0%B8%D1%89%D1%83-%D0%BD%D0%B5%D0%B4%D0%BE%D1%81%D1%82%D0%B0%D1%82%D0%BA%D0%B8/4 Сейчас замерю сколько теперь
@Схемотехник поглядеть надо .
Обзорщик действительно ТОПовый... Рассматривает лампу от "Осрам" с линейным драйвером и проводит измерения осциллографом. Анализирует схему. @Светотехника на заметку, про лампы "Осрам".
https://www.youtube.com/watch?v=y5hQGeNtqzA
@Схемотехник такое включение после моста у Osram видел . Это для повышения коэф.мощности ?
похожая схема
@Андрей-Туманенко На вид - это П-образный фильтр. Думаю, если бы разработчика интересовал бы коэффициент мощности, то конденсатор 4.7uF x 400v вообще не стоял бы. А сразу к выпрямителю бы подключался дроссель и конденсатор 6.8uF x 400v.
Короче говоря, такая схема нужна, чтобы исключить попадание высокочастотный составляющей тока (от драйвера) в электрическую сеть. То есть, чтобы лампа обеспечивала ЭМС. Там же габариты у дросселя очень маленькие - как раз для фильтрации ВЧ частоты...
@Схемотехник понятно , чтобы сеть не загаживать . Но напряжение не 290 как обычно , а 325 после дросселя
@Андрей-Туманенко сказал :
да. да. У него вроде бы в розетке 230... Да и к тому же, фиг знает, сколько раз он ремонтировал свой мультиметр))) это же экспериментатор) А в мультиметре стоят прецизионные резисторы...
@vrms 78 град. С выше не идет. В родном корпусе была 88,1 град. С .
Понял, не плохо так-то, уже хотя-бы в сотку не долбится. А вы еще дополнительно его герметиком заклеили по всей площади платы да?
@vrms в месте соприкосновения корпуса и диодной платы термопаста КПТ-8 , а сверху герметик для фиксации
@Схемотехник эта лампочка на распродаже в Канаде стоила $1 https://youtu.be/g8bGdM-Y_is
@Андрей-Туманенко за 1 доллар это вообще подарок!
@vrms на диодной плате дата производства 18.06.2014 год. Такие лампочки получается нафиг никому не нужны. Кстати драйвер с корректором мощности . Трындец , лучше бы в России их продавали
@Андрей-Туманенко Вот данная лампа мне больше понравилась чем Тошиба, дядюшка Ляо превзошел себя.
@Андрей-Туманенко сказал :
Само собой, лампочка оставляет положительные впечатления, но есть несколько НО:
Лампочка рассчитана на 120В / 60Гц. Помним это и понимаем, невозможность ее эксплуатации в наших условиях.
Лампочка не проверена на отсутствие пульсаций.
Сравним два пленочных конденсатора с "одинаковыми" габаритами. Например, 2.2uFx250V и 1.0uFx400V. При разнице емкости в 2.2 раза, напряжение отличается всего в 1.6 раза. То есть, при увеличении напряжения, габариты "быстрее" увеличиваются, чем при увеличении емкости...
Сравним два электролитических конденсатора с "одинаковыми" габаритами. Например, 10uFx400V105C и 22uFx250V105C. Ситуация аналогичная. Емкость отличается в 2.2 раза, а напряжение в 1.6 раза.
Вообщем, складывается впечатление, что лампочка на 120В все-таки менее требовательна к компонентам, в отличии от лампочки на 220-230В. Понятно, что на низком напряжении - токи выше. Но и мощность у рассматриваемой лампы - небольшая.
@Андрей-Туманенко А вы не анализирование "хорошие" решения именно на напряжение 220-230В? Все-таки, отличия, частично продиктованы и различным напряжением питания.
ссылки на конденсаторы: https://www.chipdip.ru/product0/6673 https://www.chipdip.ru/product0/51735 https://www.chipdip.ru/product0/9000565845 https://www.chipdip.ru/product0/9000565855
@Андрей-Туманенко сказал :
Ну все-таки к 120В лампам мы не готовы... По-поводу корректора мы с вами, в какой-то теме обсуждали. Аналогичную схему... Где после выпрямителя отсутствует электролит. А на диодах "висит" большая электролитическая банка... Вопрос, какие реальные пульсации светового потока...
Мы также говорили о том, что при отсутствии электролита, когда напряжение ниже (когда синус пересекает ноль), чем общее напряжение на диодной цепочке, то диоды питаются исключительного от электролита, которым они зашунтированы. И опять же тогда вставал вопрос о пульсациях.
@Схемотехник нужно Ваше разъяснение как работает такой драйвер
@Андрей-Туманенко сказал :
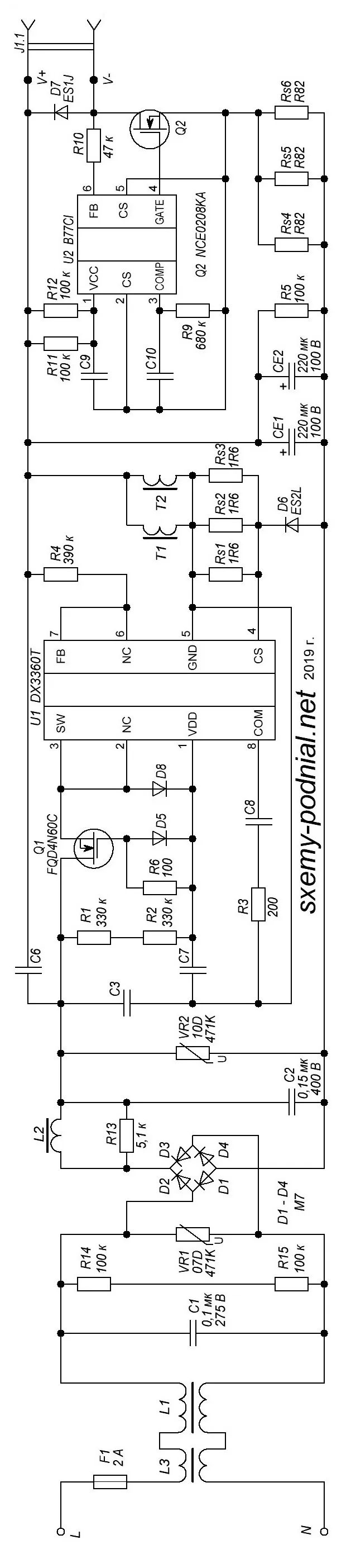
DX3360 - это понижающий корректор и стабилизатор тока для LED. B77CI - не найдена (назначение в схеме не понятно) может как элемент защиты используется, поскольку у нее в схеме есть токовые резисторы.
Примерное направление ток при работе DX3360 отмечены ниже. Красными стрелками отмечено направление тока в процессе запаса энергии. Синими стрелками отмечено направление тока в процессе спада тока. У внутри DX3360 расположен "нижний" полевой транзистор, а внешний - это верхний транзистор.
Подскажите, пожалуйста, как сделать регулировку тока в этой схеме.
Уточняю, в этой.
Уточняю, в полной схема драйвера ( 2019г)
@avb45 источник схемы здесь: https://nordtool.ru/elektropribory/led-driver-remont.html
Автор предлагает изменять сопротивление резистора Rs4..Rs6 для уменьшения тока. Скорее всего можно и Rs1..Rs3 изменять в корректоре мощности
На одной микросхеме драйвер с высоким PF я "обкатывал" здесь : https://domorost.ru/topic/4768/%D0%BD%D0%B5%D0%B4%D0%BE%D1%81%D1%82%D0%B0%D1%82%D0%BA%D0%B8-%D0%B4%D1%80%D0%B0%D0%B9%D0%B2%D0%B5%D1%80%D0%B0
Драйвер с PF 0,95 , но на выходе приличные пульсации . Получается в схеме с двумя микросхемами уменьшили пульсации при помощи второй микросхемы . Я так думаю вторая микросхема B77CI именно для этого .
Спасибо за быстрый ответ. Спросил потому, что нашёл 2 таких светильника с перегорающими светодиодами, драйверы рабочие, но электролиты поддулись. Ток выдаёт 0,36А. Час назад опыты сам закончил. Убирание Rs1-3 пропорционально уменьшает ток, Убирание Rs4-6 ничего почему-то не меняет. На Q2 почти 2в. В схеме около В77 явная ошибка, вывод 2 на минус электролитов. На плате именно так.
Думаю сделать плавную регулировку тока переменным резистором. Предполагаю, можно сделать регулируемый делитель напряжения от Rs1-3. Но может есть другой путь, например, воздействия на ножку fb. Или Q1. Я не знаю, как это сделать, слабо разбираюсь. Может, кто может подсказать, буду рад.
@avb45 сказал :
А в какой именно? как правило, снижение тока обеспечивается за счет увеличения сопротивления или удаления (при параллельном включении) токозадающего резистора (сенсора), который расположен, в цепи микросхемы, к которой подключается светодиодная нагрузка...
Речь о той самой схеме, что я указал. Как регулировать ток через контакт CS мне понятно. Мой вопрос о том, можно ли стабильно регулировать ток через другие контакты микросхемы.
Плавно переменным резистором.
Уточняю. Хочу доработать имеющийся led светильник плавной регулировкой мощности. Схема драйвера с dx3360t. Можно ли плавно и стабильно регулировать ток путем воздействия на эту микросхему, используя контакты помимо CS. И какое стандартное входное сопротивление этого контакта.
@avb45 сказал :
У микросхемы всего два вывода для воздействия - это "CS" - токовый сенсор и "FB" - обратная связь по выходному напряжению, которая необходима для защиты при обрыве нагрузки. "FB" - вряд ли пригодна для регулировки.
@avb45 сказал :
Переменный резистор - очень ненадежная деталь, обладающая ограниченным ресурсом. В случае износа, резистор может уходить в обрыв, а это очень опасно... Поэтому, данная идея - так себе...
@avb45 сказал :
Про переменный резистор уже упомянул... Воздействие на "CS" - можно, например, в качестве токозадающего резистора использовать составной, например, два последовательно соединенных. И когда работает вся цепочка резисторов - то лампа светит тускло, так как наибольшее сопротивление. А Если, один из резисторов зашунтировать, то сопротивление уменьшится и лампа будет гореть ярко. Зашунтировать можно при помощи какой-то кнопки с фиксацией. Но тут отсутствует гальваническая развязка, поэтому кнопка должна быть с хорошей изоляцией. А резисторы надо рассчитывать...
Лучше попробовать поискать специализированный диодный драйвер с возможностью регулировки выходного тока и гальванической развязкой.
Спасибо за полезные ответы. Но меня интересует только плавная регулировка. И недорого и несложно. Поэтому только переменный резистор подходит. В диммерах они безотказно годами работают. Я понял, что ток можно регулировать только через CS. Уже придумал простейшую схему с выносным 2х проводным переменником, которой не страшен КЗ или обрыв переменника, просто уйдёт в крайний диапазон регулировки тока.
@avb45 КЗ нельзя , т.к. микруха перестанет ограничивать ток . Нужно составной сделать резистор . Один переменник не пойдет
@avb45 сказал :
Ну так это классический запрос, чтобы было дешево и качественно, чего в природе не бывает...
@avb45 сказал :
В диммерах все продуманно, там низкая частота и резистор работает с щадящем режиме, да и еще защиты предусмотрены от его неисправности...
@avb45 сказал :
Представите разработанную вами схему? В какой крайний диапазон? минимальный или максимальный? Если на CS не поступит сигнал с сенсора, то микросхема выдаст максимальный ток, который сожжет светодиоды...
Добавлено R1, R2, RP - переменный выносной. При обрыве ток будет максимальный, будет зависеть от соотношения цепочки R1, R2. Rs1-3 увеличить придётся в разы потому что цепочка R1, R2, RP увеличивает ток, но позволяет его регулировать. Ухудшение в том, что тепловые потери на Rs1-3 значительно увеличиваются. Но думаю, это не критично. Можно вынести эти резисторы наружу и поставить нужной мощности. Вероятно, можно сделать какой-то усилитель напряжения на транзисторах, но будет сложнее намного.
Эта схема верная. Предыдущая ошибочная.
Вот ещё драйвер на 36 ватт. Кто нибудь знает, как его лучше регулировать?
@avb45 с обратной стороны нужно смотреть . Фотки в студию
Попозже сделаю с описанием
@avb45 сказал :
Схема рабочая. Если Rb - оборвется, то будет работать делитель R1, R2. Вот тут надо расчет сделать, чтобы при таком положении ток ограничивался бы, максимальным значением для диодов.
@avb45 сказал :
А на базе чего построен драйвер? тоже самого?
Похожий драйвер от точно такого светильника: R1 или R2 закорочены. Микросхема: bp9927f
Питает 180 светодиодов, 30 последовательно по 6 параллельно.
Этот светильник.
@avb45 R1 и R2 стоят в корректоре мощности
RS1...RS3 изменяйте сопротивление
еще здесь можно почитать : http://kazus.ru/forums/showthread.php?p=1289772
Ошибся немного. 6 параллельных цепочек по 30 последовательных светодиодов.
@avb45 а какая проблема со светильником ?
А предыдущая плата на микросхеме bp2836d
Это мне знакомые отдали нерабочие светильники, а я взял для изучения и может быть, что-то полезное сделать получится. Сгорели некоторые диоды. В каждой последовательной цепочке по одному, а где-то и по два.
@avb45 сгоревшие светодиоды можно просто закоротить , если нет возможности заменить. Т.к. они уже изношенные желательно и ток уменьшить в цепи светодиодов. Это если не светят